100G LWDM ZR4 双纤QSFP28光模块
发布时间:2025-03-25 10:45:36
发布者:710公海线路检测科技
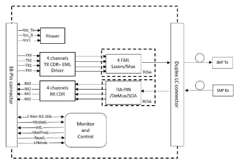
浏览次数:304710公海线路检测科技100G QSFP28 ZR4 80KM 4 波长LAN-WDM 光模块为客户提供100千兆以太网连接选项,并通过单模光纤(SMF)连接高达80KM的传输距离。DTACQQ7-HHLZC*是一个100Gb/s的光收发模块,适用于光通信应用,符合QSFP28MSA,100GBASE-ZR4,CAUI-4要求。为了提供103.1Gbps的聚合信号速率,收发器以4个25.78Gbps的并行数据流运行。LWDM通道的中心波长分别为1295.56、1300.05、1304.58和1309.14nm,作为LWDM波长网格的成员,复用到单模光纤上。在接收端,光数据流的四个通道被收发器解复用并重新定时。典型的应用是互联网服务提供商(ISP)光纤到家庭聚合和骨干网、移动运营商核心网和移动回程和数据中心的站点互连。

产品特性:
在主KR4FEC的单模光纤上传输可达80公里
支持103.125Gbps的聚合比特率
热插拔38pin电接口
QSFP28,MSA兼容
4个LWDM波长1295.56、1300.05、1304.58和1309.14nm
冷却LAN-WDM EML TOSA
SOA+销接收机
CAUI-4 兼容
功耗<6.5W
工作箱温度:-40~85°C
行业标准LC双工连接器
单路3.3V电源
IEC60825-11级/CDRH1级激光眼睛安全
典型应用场景:
电信网络:ISP光纤到户(FTTH)汇聚层、城域/骨干网核心传输
移动通信:5G核心网(5GC)、移动回传(MBH)及前传网络
数据中心:DCI互联、园区骨干网及超大规模数据中心集群组网
企业专网:金融、能源等行业高可靠专线网络建设
产品信息表:
| 型号 | 速率(G) | 器件 | 接收器件 | 传输距离 | 光纤类型 | 数据诊断 | 接口 | 工作温度 |
| DTACQQ7-HHLZI1 | 100 | EML | SOA+PIN | 80KM | 单模 | 带 | LC | -40°C~+85°C |
| DTACQQ7-HHLZI2 | 100 | EML | SOA+PIN | 80KM | 单模 | 带 | LC | -40°C~+85°C |
ESD
本收发器电输入引脚ESD故障阈值满足Class1级。ESD测试根据MIL-STD-883,方法3015.4/JESD22-A114-A(HBM)。在进行本模块的操作过程中,仍需遵循正常的防静电注意事项。该收发器采用防静电保护包装。应从包装中取出,并在防静电保护环境下处理。
激光安全性
这是1级激光产品,符合IEC60825-1:1993:+A1:1997+A2:2001。本产品符合21CFR10100.10和10100.11,除符合日期(2001年7月26日)第50号激光公告的偏差外。
可靠性规范
模块设计符合GR-1089-CORE3.2.1.1和3.2.1.3节中的A类电磁发射要求。该模块的设计符合GR-63第4.2.3节的防火要求。该模块符合指令2015/863/EU关于电气和电子设备中使用某些有害物质的限制。该模块在总体可靠性方面符合GR-468标准。在70度的工作环境温度下,FIT<3500,置信度为60%。在设备使用寿命结束时,请按照电子废品回收流程进行妥善处理,并从旧设备中回收材料用于新产品。
收发器框图:

模块尺寸:






